L’Office des brevets et des marques des États Unis vient d’accorder à Apple un brevet pour un casque de réalité virtuelle pour mobile.
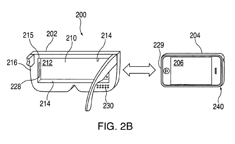
Si Apple préfère la technologie de réalité augmentée, l’entreprise de Tim Cook a tout de même manifesté son intérêt pour la réalité virtuelle. La preuve, l’Office des brevets et des marques des États Unis (USPTO) vient d’accorder à la firme de Cupertino un brevet pour un casque de réalité virtuelle destinés aux mobiles. Le brevet décrit un dispositif similaire au casque Gear VR de Samsung, bien que sa conception semble favoriser les petits téléphones et les clients qui portent des lunettes.
En effet, du côté du Gear VR, les téléphones grand format de Samsung, comme le Galaxy S6 Edge Plus, qui a un écran de 5,7 pouces, sont compatibles. Chez Apple, la solution dépendrait d’un écran plus petit. D’après le brevet, qui a été déposé en janvier 2015, si les clients insèrent un iPhone Plus, le système affichera le contenu plus petit que l’écran réel, et éventuellement dans une résolution inférieure, en fonction de la proximité des yeux de l’utilisateur.

Le casque d’Apple présenté dans ce brevet dispose de lentilles, d’un touchpad et d’un capteur de proximité, les autres fonctionnalités étant fournies par le smartphone. Une télécommande accompagnerait également le casque.
En outre, le casque VR, ayant pour numéro de brevet 9.482.869, a intégré des écouteurs de chaque côté des branches. Il y a aussi une sangle pour la tête afin de maintenir l’appareil en place sur la tête de l’utilisateur. Les utilisateurs pourraient apparemment utiliser un périphérique externe étant donné qu’il y a un port et des prises sur le côté du casque VR.
Rappelons que pour le moment, il ne s’agit que d’un brevet. Cela ne veut pas forcément dire que la société va produire l’appareil. Néanmoins, cela montre qu’Apple cherche à se préparer à toute éventualité.



