Skip to main content

Google aurait récemment déposé un brevet pour des lentilles connectées qui seraient greffées directement dans le globe oculaire de l’utilisateur.

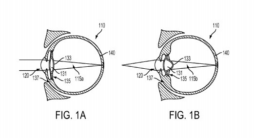
Selon un brevet déposé par Google et découvert par Forbes, Google travaillerait sur des lentilles connectées qui seraient greffées directement dans le globe oculaire de l’utilisateur. Bien sûr, le dispositif serait surtout utilisé comme un moyen de corriger la vision des patients, mais il pourrait être utilisé pour d’autres choses aussi.

Le dispositif en lui-même comprend une lentille, mais en plus de cela, il embarque un espace de stockage, des capteurs, une batterie, et même des composants radio afin qu’il puisse communiquer avec d’autres dispositifs, comme un module externe offrant une puissance de traitement.

smart-lens-google

Etant donné que le brevet mentionne une batterie, il est légitime de se demander si l’appareil nécessitera une recharge. Et bien oui, mais au lieu de brancher un câble micro USB dans son globe oculaire (Ouch !), la batterie se chargera grâce à une « antenne de récupération d’énergie ». On ne sait pas exactement comment cela fonctionnerait, mais une chose est sûre, cela ne devrait pas impliquer de câble micro USB.

Bien sûr, ce n’est pas la première fois que nous voyons Google se concentrer sur les yeux. En dehors des Google Glass, la société a déposé un brevet pour une lentille de contact intelligente en 2014. Cette lentille avait pour objectif de vérifier les niveaux de glucose avec les larmes du patient, ce qui serait particulièrement utile pour les personnes atteintes de diabète.

Rappelons que Google n’est pas le seul géant du secteur de la High Tech a faire des recherches sur ce genre d’appareils. Il y a trois semaines, Samsung a fait une demande de brevet similaire en Corée du sud pour une lentille de contact, munie d’une petite caméra contrôlable via un simple clignotement des yeux. Hier, on apprenait que Sony avait lui aussi déposé un brevet pour une lentille de contact connectée, équipée d’un mini capteur photo pour prendre des clichés.