Skip to main content

Imaginez la scène – vous rentrez chez vous, le chauffage se met en route, les lumières s’allument et votre four se met en route.

Vous n’avez rien à faire. Ça arrive car le GPS de votre iPhone a prévenu votre maison que vous étiez en chemin.

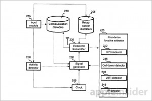
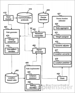
Ça pourrait mettre du temps à arriver réellement sur le marché, mais c’est ce qu’indique un brevet déposé par Apple mardi. Celui-ci décrit un « système de géolocalisation à communication sans fil pour contrôler les appareils environnant. »

Quels appareils pourraient êtres contrôlés ? « L’éclairage, les systèmes de sécurité, les portes de garage, la musique, le chauffage, les appareils de cuisine », a déclaré la société.

Bien entendu, le problème majeur est que vos appareils devront être connectés à votre réseau. Il sera donc possible de connecter les appareils en wifi ou par un câble ethernet.

13.11.05-Home_Auto-2

13.11.05-Home_Auto

13.11.05-Home_Auto-3

crédit images : Appleinsider